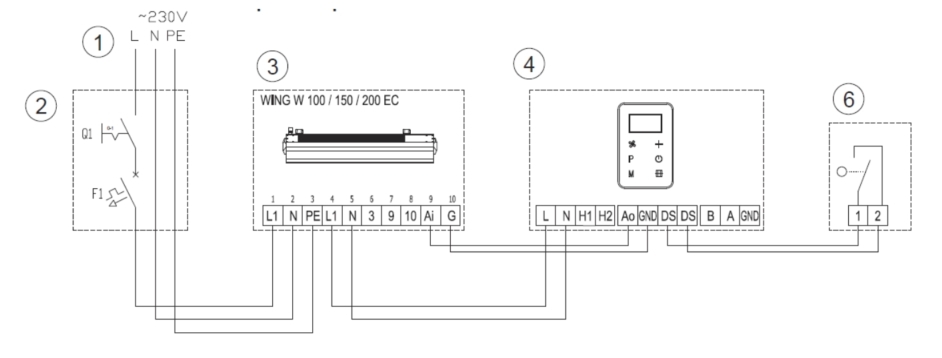
Czujnik drzwiowy | kontraktor do WING EC | VTS
Kod produktu: 50003
Kod producenta: 1-4-0101-0454
6
4
Brutto 23% VAT100,86 zł
Dostępność 72 godziny
Czujnik drzwiowy do kurtyn powietrza WING EC.
